Устройство карбюратора ваз 21213 солекс
Карбюратор Нивы: настраиваем и ремонтируем самостоятельно
Карбюратор на моделях 2121, 21213 и других машинах в общих чертах имеет одно и то же устройство. Функционально оно располагается в двигательной системе, и с его помощью топливо перемешивается до состояния горючей смеси. Карбюратор, как правило, состоит из нескольких основных элементов — поплавковой камеры, так называемого жиклера (с распылителем), диффузора, дроссельной заслонки. Он может иметь от одной до четырех камер на разных автомобилях, последовательное или одновременное открытие заслонок дросселя, горизонтальное, нисходящее или восходящее движение рабочей смеси.
Элементы устройства карбюратора на моделях Нивы

Схема карбюратора также включает: рычаг привода от ускорительного насоса, диафрагму, регулировочный винт и воздушный канал от пускового устройства, запорный клапан (электромагнитный), воздушную заслонку, игольчатый клапан, штуцер от подачи топлива, экономайзер для мощностных режимов, блок для подогрева карбюратора, штуцеры для вентиляции картера, для подачи разрежения для вакуумного регулятора в зажигании и др. элементы.
Нива 2121 имеет следующую последовательность прохождения топливных элементов через камеру карбюратора. Во-первых, топливо переходит из топливного бака в поплавковую камеру в отрегулированном количестве. Поплавок при этом поднимается или опускается при движении топлива.
Дальше путь топлива лежит через жиклер в распылитель, находящийся в узкой части в диффузоре, с одновременным поступлением в карбюратор воздуха через наружную трубу. Затем дроссельные заслонки подают то или иное количество топлива в цилиндр двигателя через впускной коллектор, отлитый из алюминиевых сплавов. Коллектор крепится к двигателю на шпильки через прокладки, обладающие термостойкими качествами.
«Солекс» и «Озон»
На модель ВАЗ 2121 Нива можно поставить карбюратор типа «Озон» с серийным обозначением 2107-110-7010-10 или 2107-110-7010-20. Они отличаются друг от друга тем, что первый вариант имеет прерыватель старого образца, не имеет вакуумкорректора. Второй же карбюратор не обладает микропереключателем от экономайзера, который влияет на экологичность выбросов и оказывает некоторое влияние на расход топлива.

Вот эта деталь автомобиля
На Ниву 21213 ставят карбюраторы типа «Солекс» (модель 21073-110-7010). Их считают достаточно «капризными», что в первую очередь обуславливается халатностью самих владельцев. На некорректную работу устройства влияет в первую очередь некачественное топливо с большим количеством примесей, т. к. у этой модели забор топлива происходит через отверстия в дне поплавковых камер (у других моделей эти элементы подняты над дном).
Кроме того, проблемы возникают у тех «нивоводов», которые не меняют своевременно топливный или воздушный фильтр, а также не уделяют внимание надлежащей очистке карбюратора от выбросов масляной копоти через систему вентиляции.
Регулировка карбюратора ВАЗ обычно проводится в части поплавкового механизма или в системах пусковой системы и холостого хода. Это очень ответственные операции, которые лучше доверять мастерам.
Поплавковый механизм на машине Нива 2121 корректируется в части положения поплавков относительно друг друга и относительно стен поплавковой камеры. Кроме того, может потребоваться регулировка механизмов в положении открытого и закрытого игольчатого клапана. Чтобы не нарушать хорошую регулировку, автовладельцу нужно аккуратно обращаться с крышкой карбюратора при снятии, следить за уровнем изношенности запорного конуса от иглы (ее седла и язычка), а также оси кронштейна крепления.
Проводим регулировку своими силами
Нива 21213 может подвергаться регулировке пусковой системы по зазору у кромок заслонок, если карбюратор снят, или по частоте вращения коленвала непосредственно на машине. В первом случае зазор в месте нахождения нижней кромки (в направлении движения воздуха) от дроссельной заслонки устанавливается шириной 1,1 мм. Его регулируют винтом, который имеет шестигранник 0,7 см на головке и шлицем от хвостовика. Эта операция проводится при повернутом против часовой стрелки рычаге кулачка от управления пусковой системой (до упора). В таком же положении зазор у нижней кромки от воздушной заслонки устанавливают на величину в 3 мм с помощью винта в крышке от диафрагменного механизма в пусковой системе (нужно ослабить контргайку). Одновременно шток от диафрагмы должен быть в принудительном порядке утоплен до конца в регулировочный винт. После регулирования винт фиксируется контргайкой.

Принцип питания карбюраторного двигателя
Регулировка пусковой системы Нивы прямо в автомобиле позволяет сэкономить время:
- С двигателя нужно снять воздушный фильтр, вытянуть на себя манетку управления от воздушной заслонки, запустить движок.
- При принудительном открытии воздушной заслонки (путем касания плоской отверткой на треть ее полного угла поворота) с помощью винта (рядом с рычагом на оси от дроссельной заслонки от первой камеры) устанавливают исходную частоту вращения в 2,08.мар,0 тыс. оборотов в минуту (на прогретом двигателе).
- Убирают отвертку, опускают воздушную заслонку и с помощью упора винта (рядом с диафрагмой) устанавливают частоту, меньшую на 100 оборотов в минуту по сравнению с исходной (нужно подобрать соответствующее положение воздушной заслонки).
- После этого винт можно зафиксировать с помощью контргайки.
Если у вас есть газоанализатор, то настройка карбюратора в части пусковой системы может быть выполнена, ориентируясь на количество в отработанных газах СО (оксида углерода). Если при полностью вытянутой манетке от управления воздушной заслонкой норма газа равна 8%, то все в порядке. Если газа меньше, чем данная величина, то винт на крышечке от диафрагменного механизма закручивают, если больше — раскручивают и проводят повторные замеры.
Отрегулировать холостой ход у машины Нива 2121 нужно для того, чтобы в отработанных газах было меньше оксида углерода, и для того, чтобы двигатель работал устойчиво. На станциях технического обслуживания такие работы проводят с газоанализаторами на СН. В гараже регулировку можно провести с помощью тахометра.

В этих целях на прогретом двигателе отверткой прокалывается заглушка из пластмассы, затем винт качества вращается в разные стороны, пока не будут достигнуты максимальные обороты на холостом ходу. Потом, при помощи винта количества (имеет ребристую пластмассовую ручку), нужно установить повышенное число оборотов (на 50-70 об/мин. больше, чем на стандартном холостом ходу). Операции с винтами нужно повторить еще два раза. Затем на моделях 2121 или 21213 на холостом ходу, на оборотах, повышенных на 50-70 об/мин, заворачивается винт качества, при этом обороты должны упасть до нормальных (т. е. снизиться на 50-70 оборотов).
Ремонт карбюратора при провалах и рывках
Ремонт карбюратора может понадобиться, если двигатель дает неустойчивую работу на холостом ходу, при этом не всегда помогает регулировка винтами количества и качества. Часто причина кроется в переобогащении смеси, которое может быть следствием неправильной регулировки системы поплавков или неисправностями в системе вакуумного экономайзера для мощностных режимов. В последнем случае может потребоваться замена разорванной диафрагмы или ремонт клапана экономайзера, через который просачивается топливо.
Модель 2121 может давать при движении рывки, раскачивания или провалы. В этом случае может быть несколько причин их возникновения, для устранения которых, возможно, потребуется ремонт карбюратора. Провалы, появляющиеся при медленном открытии заслонки дросселя, часто связаны с забиванием жиклера от холостого хода. Здесь необходимо провести регулировку уровня топлива и проверить уровень засоренности в главных топливных жиклерах.
Если автомобиль дает глубокий провал при попытках открытия первой или второй дроссельных камер, то помимо засорения жиклеров, причина может быть в плохой установке малых диффузоров в соответствующие гнезда.
Когда Нива 21213 дает небольшие подергивания на малой и средней скоростях, вяло разгоняется, то дело может быть в плохой дозировке топлива со стороны запорного клапана из-за его износа. В этом случае нужен ремонт в части замены запорного клапана с запорной иглой из металла, на клапан, имеющий эту иглу из другого материала.
Машины серии 2121 иногда дают провалы при любом открытии дроссельных заслонок резкого типа, которые потом в течение 5 секунд исчезают при работе двигателя в том же темпе. Часто такие проблемы связаны с неисправностью ускорительного насоса, которая влечет отсутствие или неправильное падение бензиновых потоков. К подобной ситуации приводит разрыв диафрагмы, разрушение уплотнительного кольца из резины на держателе от распылителя или разрушение нижней части клапана.
Устройство карбюратора «Солекс» 21073
Карбюратор 21073 1107010 ДААЗ разрабатывался для автомобилей «Нива» ВАЗ-2121 с объемом двигателя 1,6 л и ВАЗ-21213 с 1,7 литровым двигателем.
Солекс 21073-1107010 является эмульсионным, двухкамерным карбюратором с падающим потоком (движение потока сверху вниз). Дроссельные заслонки открываются механически, последовательно с помощью педали «газа».
Карбюратор имеет следующие узлы и системы:
- Главные дозирующие системы, их две, для первой и второй камер соответственно.
- Поплавковая камера оснащена двойным поплавком, сбалансирована для предотвращения влияния на работу карбюратора наклонов, например при повороте автомобиля.
- Система отсоса картерных газов.
- Механизм, блокирующий открытие дроссельной заслонки второй камеры.
- Система холостого хода связана с первой камерой.
- Экономайзер холостого хода.
- Две переходные системы, по одной для каждой из камер.
- Экономайзер мощностных режимов.
- Ускорительный насос.
- Пусковое устройство.
- Устройство подогрева.
Расположение основных узлов карбюратора показано на рисунках:


Карбюратор состоит из двух половинок, более массивной нижней – корпуса, и верхней – крышки карбюратора. В нижней части карбюратора, в каждой из камер находятся поворотные дроссельные заслонки, управляемые механически. В первой камере в верхней части расположена воздушная заслонка, предназначенная для холодного пуска двигателя. Воздушная заслонка управляется тросом, идущим в салон автомобиля (рычаг подсоса), и вакуумным пусковым устройством.
Через впускной штуцер, топливо, проходя через сетчатый фильтр карбюратора и игольчатый клапан, попадает в поплавковую камеру. Камера состоит из двух секций, сообщающихся между собой, поэтому уровень топлива в них одинаков. Двухсекционная конструкция позволяет уменьшить влияние крена автомобиля на уровень топлива и, как следствие, на работу двигателя.

Эмульсионная трубка с воздушным жиклером
По мере наполнения поплавковой камеры, поплавок, поджимая вверх иглу клапана, перекрывает поступление топлива, таким образом, поддерживает постоянный уровень горючего в карбюраторе.
Из поплавковой камеры топливо через главные топливные жиклеры подается в эмульсионные колодцы, туда же через отверстия в верхней части эмульсионных трубок (воздушные жиклеры) поступает воздух. В колодцах при смешивании топлива и воздуха образуется эмульсия, которая попадает в малые и большие диффузоры карбюратора. Это главная дозирующая система карбюратора.
На разных режимах двигателя, в работу включаются те или иные системы карбюратора.
Работа карбюратора Солекс 21073
При пуске холодного двигателя, для обогащения смеси, в работу вступает пусковое устройство, управляемое из салона автомобиля ручкой подсоса. В максимально вытянутом положении ручка подсоса через тросик привода поворачивает рычаг, полностью закрывая воздушную заслонку (первая камера). При этом дроссельная заслонка первой камеры приоткрывается на размер пускового зазора, который можно настроить регулировочным винтом приоткрывания дроссельной заслонки первой камеры на рычаге.
Пусковое устройство состоит из полости, сообщающейся каналом с пространством впускного коллектора, диафрагмы и штока связанного с воздушной заслонкой. После пуска двигателя разрежение во впускном коллекторе воздействую на диафрагму и шток открывает воздушную заслонку на величину пускового зазора (регулируется винтом пускового устройства). При возврате рукоятки в нормальное, утопленное положение, пусковые зазоры уменьшаются. Зазоры в промежуточных положениях полностью зависят от геометрии рычага и не нуждаются в регулировке. Дроссельная заслонка второй камеры через систему рычагов, при вытянутом подсосе, блокируется, поэтому при нажатии на газ вторая камера в работе не участвует для исключения провалов двигателя.
Система холостого хода (СХХ) предназначена для питания двигателя на минимальных оборотах, не давая ему заглохнуть, когда нагрузка отсутствует. Топливо поступает в СХХ через главный топливный жиклер первой камеры, далее жиклер холостого хода, смешивается с воздухом поступающим через воздушный жиклер холостого хода, а также из широкой части диффузора первой камеры. Такая система подачи воздуха в СХХ обеспечивает устойчивый переход в данный режим. Полученная эмульсия поступает в первую камеру через отверстие расположенное под дроссельной заслонкой. Канал ведущий к выходному отверстию холостого хода перекрывает винт качества. Частота оборотов двигателя регулируется так называемым винтом качества, который определяет величину зазора дроссельной заслонки камеры номер один в режиме холостого хода.
При плавном нажатии на педаль газа, в работу включается переходная система первой камеры. Ее дроссельная заслонка частично открывается, из щели переходной системы, которая расположена выше заслонки, начинает поступать дополнительное топливо, обогащая смесь. Переходная система первой камеры не допускает провал при переходе из режима холостого хода, при трогании автомобиля.

Переходная система второй камеры устроена аналогично, с той лишь разницей, что обогащает смесь при переходе из режима средних к большим нагрузкам, и ее выходное отверстие круглое. Эта система помогает избежать провалов при движении автомобиля.
При достаточно сильном открытии заслонок в работу вступает экономайзер мощностных режимов. Экономайзер забирает топливо непосредственно из поплавковой камеры и управляется разрежением во впускном коллекторе. При закрытой заслонке разряжение велико, и диафрагма экономайзера не воздействует на шариковый клапан, перекрывающий поток топлива. При открытии заслонки разрежение уменьшается, пружина воздействует на диафрагму, а та на шарик клапана, открывая путь топливу через жиклер экономайзера в эмульсионный колодец, и, минуя главный топливный жиклер, обогащает топливную смесь.

В режиме работы на максимальных нагрузках двигателю требуется дополнительное топливо. Его подачу осуществляет эконостат непосредственно из поплавковой камеры, через систему каналов к распылителю во второй камере.

Ускорительный насос еще один узел карбюратора. Ускорительный насос, обогащает топливную смесь при разгоне автомобиля. Состоит он из рычага, диафрагмы и распылителя. Кулачок насаженный на ось дроссельной заслонки, при ее открытии воздействует на рычаг насоса, а тот на диафрагму, накачивающую топливо через распылитель в первую камеру карбюратора. В устройстве насоса предусмотрены два обратных клапана. Первый находится в канале связывающем поплавковую камеру и полость насоса, и открывается при заполнении последней под действием пружины отводящей диафрагму, подобно поршню шприца. Клапан закрывается при нагнетании топлива в распылитель (при нажатии на педаль газа). Второй клапан расположен в распылителе ускорительного насоса. При нагнетании топлива он открывается, если топливо перестает поступать – перекрывает канал распылителя, предотвращая подсос воздуха и не давая вытекать топливу. Профиль кулачка ускорительного насоса определяет его производительность.
Экономайзера принудительного холостого хода (ЭПХХ)
О системе холостого хода было сказано выше. СХХ карбюратора 21073 оснащена электромагнитным клапаном, являющемся частью экономайзера принудительного холостого хода (ЭПХХ). Этот клапан перекрывает каналы холостого хода и переходной системы первой камеры, и предназначен для прекращения подачи топлива при выключении двигателя, а также в режиме принудительного холостого хода (торможение двигателем), для уменьшения токсичности выхлопных газов и экономии топлива. ЭПХХ состоит из концевого выключателя (смотрите на рисунке карбюратора), электромагнитного клапана и блока управления.
При включении зажигания перед пуском двигателя, когда дроссельная заслонка первичной камеры карбюратора закрыта упорный винт (винт количества) с концевым выключателем замкнут на корпус автомобиля. При этом напряжение подается на электромагнитный клапан и он открывает топливный жиклер системы холостого хода.
При запуске двигателя и его работе на режиме холостого хода электромагнитный клапан получает питание от блока управления. С возрастанием частоты вращения коленчатого вала до 2100 оборотов в минуту (при нажатии на педаль газа происходит разрыв соединения концевого выключателя с корпусом автомобиля), блок управления отключается от управления электромагнитным клапаном, но питание на электромагнитный клапан продолжает поступать, до того момента пока концевой выключатель вновь не замкнется на массу. При резком закрытии дроссельных заслонок (принудительный холостой ход) концевой выключатель замыкается на корпус автомобиля и питание на электромагнитный клапан отключается, а игла клапана перекрывает подачу топливной смеси.
При уменьшении частоты вращения коленчатого вала до 1900 оборотов в минуту вновь включается блок управления и на электромагнитный клапан подается напряжение, открывается топливный жиклер и начинается подача смеси из системы холостого хода.
Данный карбюратор имеет схожую конструкцию со всеми карбюраторами линейки «Солекс» Димитровградского автоагрегатного завода (сокращенно ДААЗ), но и имеет некоторые отличия. Поскольку устанавливается он на двигатели с большим рабочим объемом, то и характеристики его систем изменены. Распылитель ускорительного насоса оснащен только одной трубкой идущей в первую камеру. Сетчатый фильтр извлекается после выкручивания штуцера подачи топлива. Карбюратор 21073-1107010 оснащен системой управления рецеркуляцией отработавших газов через штуцеры запресованные в корпус, которые по каналам соединяются с пространством первой камеры над заслонкой дросселя и под ней.
Из таблицы ниже вы сможете узнать какие жиклеры стоят на Солекс 21073 1107010.

Тарировочные данные 21073-1107010
Полезное видео по теме:
Особенности устройства карбюратора
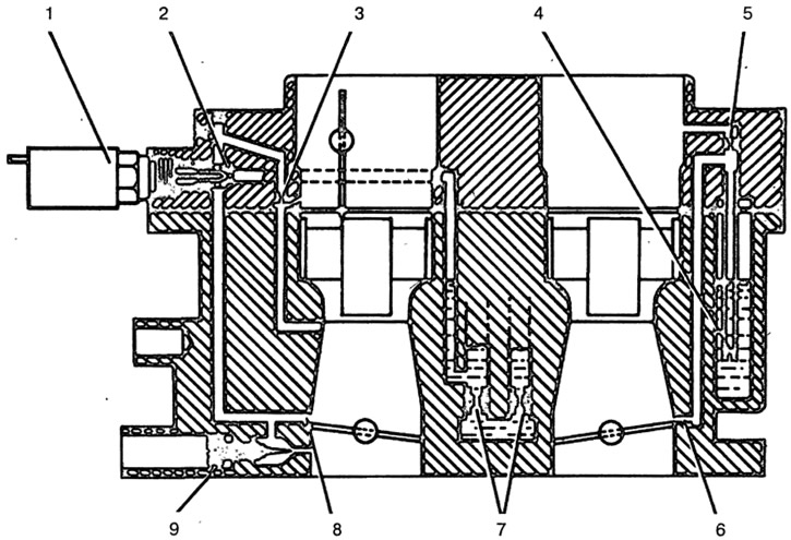
На двигателе устанавливается карбюратор 21073-1107010 (рис. 2-81) эмульсионного типа, двухкамерный, с последовательным открытием дроссельных заслонок. Карбюратор имеет сбалансированную поплавковую камеру, систему отсоса картерных газов за дроссельную заслонку, подогрев зоны дроссельной заслонки первой камеры, блокировку второй камеры.

Рис. 2-81. Карбюратор 21073-1107010:
1 – рычаг привода дроссельных заслонок; 2 – штифт рычага блокировки второй камеры; 3 -регулировочный винт приоткрывания дроссельной заслонки первой камеры; 4 – винт для крепления троса привода воздушной заслонки; 5 – рычаг управления воздушной заслонкой; 6 – рычаг воздушной заслонки; 7 – возвратная пружина воздушной заслонки; 8 – шток диафрагмы пускового устройства; 9 – электромагнитный запорный клапан; 10 – патрубок подачи топлива; 11 – кронштейн для крепления оболочки троса привода воздушной заслонки; 12 – регулировочный винт второй камеры; 13 – рычаг дроссельной заслонки второй камеры; 14 – рычаг привода дроссельной заслонки второй камеры; 15 – возвратная пружина дроссельной заслонки первой камеры.
В карбюраторе имеются две главные дозирующие системы первой и второй камер, система холостого хода первой камеры с переходной системой, переходная система второй камеры, экономайзер мощностных режимов, эконостат, диафрагменный ускорительный насос, пусковое устройство. На принудительном холостом ходу включается экономайзер принудительного холостого хода.
Тарировочные данные карбюратора приведены в табл. 2-3.
Таблица 2-3. Тарировочные данные карбюратора 21073-1107010

Главная дозирующая система
Топливо через сетчатый фильтр 4 (рис. 2-82) и игольчатый клапан 6 подается в поплавковую камеру. Из поплавковой камеры топливо поступает через главные топливные жиклеры 9 в эмульсионные колодцы и смешивается с воздухом, выходящим из отверстий эмульсионных трубок 1, которые изготовлены заодно с главными воздушными жиклерами. Через распылители 2 топливно-воздушная эмульсия попадает в малые и большие диффузоры карбюратора.

Рис. 2-82. Схема главных дозирующих систем:
1 – главные воздушные жиклеры с эмульсионными трубками; 2 – распылители первой и второй камер; 3 – балансировочное отверстие; 4 – топливный фильтр; 5 – патрубок с калиброванным отверстием слива части топлива в топливный бак; 6 – игольчатый клапан; 7 – поплавок; 8 – дроссельная заслонка второй камеры; 9 – главные топливные жиклеры; 10 – дроссельная заслонка первой камеры.
Дроссельные заслонки 8 и 10 соединены между собой таким образом, что вторая камера начинает открываться, когда первая уже открыта на 2/3 величины.
Система холостого хода
Система холостого хода забирает топливо из эмульсионного колодца после главного топливного жиклера 7 (рис. 2-83). Топливо подводится к топливному жиклеру 2 с электромагнитным запорным клапаном 1, на выходе из жиклера смешивается с воздухом, поступающим из проточного канала и из расширяющейся части диффузора (для обеспечения нормальной работы карбюратора при переходе на режим холостого хода). Эмульсия выходит под дроссельную заслонку через отверстие, регулируемое винтом 9 качества (состава) смеси.

Рис. 2-83. Схема системы холостого хода и переходных систем карбюратора:
1 – электромагнитный запорный клапан; 2 -топливный жиклер холостого хода; 3 – воздушный жиклер холостого хода; 4 – топливный жиклер переходной системы второй камеры с трубкой; 5 – воздушный жиклер переходной системы второй камеры; 6 – выходное отверстие переходной системы второй камеры; 7 – главные топливные системы; 8 – щель переходной системы первой камеры; 9 – регулировочный винт качества (состава) смеси холостого хода.
Переходные системы
При открытии дроссельных заслонок карбюратора до включения главных дозирующих систем топливно-воздушная смесь поступает:
- в первую смесительную камеру через жиклер 2 холостого хода и вертикальную щель 8 переходной системы, находящуюся на уровне кромки дроссельной заслонки в закрытом положении;
- во вторую смесительную камеру через выходное отверстие 6, находящееся чуть выше кромки дроссельной заслонки в закрытом положении. Топливо поступает из жиклера 4 через трубку, смешивается с воздухом из жиклера 5, поступающим через проточный канал.
Экономайзер мощностных режимов
Экономайзер мощностных режимов срабатывает при определенном разрежении за дроссельной заслонкой 5 (рис. 2-84). Топливо забирается из поплавковой камеры через шариковый клапан 8. Клапан 8 закрыт, пока диафрагма удерживается разрежением во впускной трубе. При значительном открытии дроссельной заслонки разрежение несколько падает и пружина диафрагмы 7 открывает клапан. Топливо, проходящее через жиклер 9 экономайзера, добавляется к топливу, которое проходит через главный топливный жиклер 4, обогащая горючую смесь.

Рис. 2-84. Схема экономайзера мощностных режимов и эконостата:
1 – дроссельная заслонка второй камеры; 2 – главный топливный жиклер второй камеры; 3 – топливный жиклер эконостата с трубкой; 4 – главный топливный жиклер первой камеры; 5 -дроссельная заслонка первой камеры; 6 – канал подвода разрежения; 7 – диафрагма экономайзера; 8 – шариковый клапан; 9 – топливный жиклер экономайзера; 10 – топливный канал; 11 – воздушная заслонка; 12 – главные воздушные жиклеры; 13 – впрыскивающая трубка эконостата.
Эконостат
Эконостат работает при полной нагрузке двигателя на скоростных режимах, близких к максимальным, при полностью открытых дроссельных заслонках. Топливо из поплавковой камеры через жиклер 3 (рис. 2-84) поступает в топливную трубку и высасывается через впрыскивающую трубку 13 во вторую смесительную камеру, обогащая горючую смесь.
Ускорительный насос
Ускорительный насос диафрагменный, с механическим приводом от кулачка 6 (рис. 2-85) на оси дроссельной заслонки первой камеры. При закрытой дроссельной заслонке пружина отводит диафрагму 3 назад, что приводит к заполнению полости насоса топливом через шариковый клапан 8. При открытии дроссельной заслонки кулачок действует на рычаг 5, а диафрагма 3 нагнетает топливо через шариковый клапан 2 и распылитель 1 в смесительную камеру карбюратора, обогащая горючую смесь.

Рис. 2-85. Схема ускорительного насоса:
1 – распылитель; 2 – шариковый клапан подачи топлива; 3 – диафрагма насоса; 4 -толкатель; 5 – рычаг привода; 6 – кулачок привода насоса; 7 – дроссельная заслонка первой камеры; 8 – обратный шариковый клапан; 9 – дроссельная заслонка второй камеры.
Производительность насоса не регулируется и зависит только от профиля кулачка.
Пусковое устройство
Рычаг 4 (рис. 2-86) управления воздушной заслонкой имеет три профиля. Его наружная кромка 4.3 воздействует на рычаг 11 управления дроссельными заслонками через регулировочный винт 10 и обеспечивает запуск холодного двигателя и необходимое далее повышение частоты вращения коленчатого вала двигателя. Внутренние профили 4.1 и 4.2 воздействуют на рычаг 6 воздушной заслонки и допускают ее открытие при промежуточных положениях рычага 4 на определенную величину. При повороте рычага 4 управления воздушной заслонкой против часовой стрелки расширяющийся паз освобождает штифт рычага 6 воздушной заслонки, и за счет возвратной пружины 7 заслонка будет удерживаться полностью закрытой. Одновременно рычаг4 кромкой 4.3 приоткрывает дроссельную заслонку первой камеры.

Рис. 2-86. Пусковое устройство карбюратора:
1 – диафрагма; 2 – регулировочный винт; 3 – шток диафрагмы; 4 – рычаг управления воздушной заслонкой; 4.1 – нижний профиль паза рычага 4 для ограничения максимального приоткрывания воздушной заслонки; 4.2 – верхний профиль паза, обеспечивающий механическое открытие воздушной заслонки; 4.3 – кромка рычага 4 для обеспечения пускового зазора дроссельной заслонки первой камеры; 5 – воздушная заслонка; 6 – рычаг воздушной заслонки; 7 – возвратная пружина воздушной заслонки; 8 – трос привода воздушной заслонки; 9 – стопор регулировочного винта; 10 – регулировочный винт приоткрывания дроссельной заслонки первой камеры; 11 – рычаг привода дроссельных заслонок; 12 – дроссельная заслонка первой камеры; В – пусковой зазор у воздушной заслонки; С – пусковой зазор у дроссельной заслонки.
Ось воздушной заслонки 5 смещена, поэтому воздушная заслонка после запуска двигателя может приоткрываться потоком воздуха, растягивая пружину 7, чем обеспечивает обеднение смеси.
Разрежение из задроссельного пространства воздействует на диафрагму 1 и штоком 3 приоткрывает воздушную заслонку. Регулировочный винт 2 позволяет регулировать величину приоткрывания воздушной заслонки.
Максимальная величина приоткрывания воздушной заслонки при запуске и прогреве двигателя зависит от промежуточных положений рычага 4 управления воздушной заслонки или от ширины паза этого рычага.
Экономайзер принудительного холостого хода
Экономайзер принудительного холостого хода отключает систему холостого хода на принудительном холостом ходу (во время торможения автомобиля двигателем, при движении под уклон, при переключении передач), исключая выброс окиси углерода в атмосферу.
На режиме принудительного холостого хода при частоте вращения коленчатого вала более 2100 мин -1 и при замкнутом на «массу» концевом выключателе 7 карбюратора (педаль отпущена) запорный электромагнитный клапан 4 выключается, подача топлива прерывается. Если концевой выключатель не замкнут на «массу», то электромагнитный клапан отключаться не будет.
При снижении частоты вращения коленчатого вала на принудительном холостом ходу до 1900 мин -1 блок управления вновь включает электромагнитный запорный клапан, начинается подача топлива через жиклер холостого хода, и двигатель постепенно выходит на режим холостого хода.
Блокировка второй камеры карбюратора
Дроссельная заслонка второй камеры может открываться только при открытой воздушной заслонке, когда кромка рычага 5 (рис. 2-81) не упирается в штифт 2 рычага блокировки второй камеры.
В этом случае при открывании дроссельных заслонок рычаг блокировки воздействует через рычаг 14 на рычаг 13, и заслонка второй камеры открывается.
При закрывании воздушной заслонки рычаг 5 наружной кромкой воздействует на штифт 2 рычага блокировки и разобщает между собой рычаг 14 и рычаг блокировки. Теперь дроссельная заслонка второй камеры блокирована и открыта быть не может.
Регулировочные винты карбюратора 21073 Солекс

Регулировочные винты карбюратора 21073 Солекс Нива 21213
Винт «количества» топливной смеси
Ввернут в отлив с резьбовым отверстием в средней части корпуса карбюратора. Своим наконечником касается ребра рычага управления дроссельной заслонкой первой камеры. Предназначен для увеличения объема топливной смеси поступающей в цилиндры двигателя на холостом ходу. При заворачивании, своим наконечником перемещает рычаг управления, приоткрывая дроссельную заслонку первой камеры – обороты ХХ растут. При выворачивании – обороты ХХ падают. Наконечник винта «количества» так же выступает в роли минусового контакта в системе ЭПХХ. Он сигнализирует о начале открытия дроссельной заслонки блоку управления ЭПХХ. По этому сигналу прекращается подача топлива в систему ХХ.
Винт «качества» топливной смеси
Винт «качества» расположен в нижней части корпуса карбюратора и перекрывает своим конусом выходное отверстие топливной смеси из системы холостого хода.
Он предназначен для контроля за точной дозировкой топливной смеси поступающей через систему холостого хода в цилиндры двигателя путем изменения сечения этого отверстия. Проще говоря, винт «качества» пускает дополнительный бензин в топливную смесь на ХХ, тем самым, обогащая ее.
Особенности регулировки: изначальное положение винтов «количества» и «качества» — 1 – 1,5 оборота от полностью завернутого состояния.
Необходимы для установки дроссельных заслонок обеих камер карбюратора в нужное положение для пуска и нормальной работы двигателя.
Винт регулировки положения дроссельной заслонки первой камеры карбюратора (при пуске двигателя)
Расположен на рычаге управления дроссельной заслонкой первой камеры карбюратора. Закреплен пружинным фиксатором. Служит для установки величины пускового зазора между кромкой дроссельной заслонки и стенкой первой камеры карбюратора при взведении пускового устройства (вытягивании «подсоса»). В этом случае рычаг управления воздушной заслонкой воздействует на винт и через него на рычаг управления дроссельной заслонкой.
Винт регулировки положения дроссельной заслонки второй камеры карбюратора
Расположен на отливе нижней части корпуса карбюратора. Закреплен пружинным фиксатором. Сверху на него надет защитный колпачок. На головку винта опирается рычаг управления дроссельной заслонкой второй камеры карбюратора.
Винт предназначен для регулировки величины зазора между стенками смесительной камеры карбюратора и кромками дроссельной заслонки (0,1±0,05 мм) в целях предотвращения скапливания топлива при работе ускорительного насоса. Нужное положение винта выставляется на заводе и больше не меняется.
Винт регулировки положения воздушной заслонки (регулировки пускового устройства)
Винт регулировки пускового устройства расположен в торце корпуса пускового устройства карбюратора Солекс. Он застопорен контргайкой.
Винт предназначен для ограничения хода диафрагмы пускового устройства при пуске двигателя. Тем самым достигается оптимальный угол открытия воздушной заслонки (пусковой зазор) необходимый для притока дополнительного воздуха в топливную смесь на режиме пуска.
Примечания и дополнения
Еще статьи по устройству карбюратора 21073 Солекс автомобиля Нива 21213




Добавить комментарий Отменить ответ
Навигация по записям
Искать информацию
Наш канал TWOKARBURATORS в Яндекс Дзен — вопросы и ответы по самостоятельному ремонту автомобиля.
Читайте и подписывайтесь на новые статьи.
Устройство карбюратора ваз 21213 солекс
2.15.1. Особенности устройства

На двигателе устанавливается карбюратор 21073–1107010 эмульсионного типа, двухкамерный, с последовательным открытием дроссельных заслонок. Карбюратор имеет сбалансированную поплавковую камеру, систему отсоса картерных газов за дроссельную заслонку, подогрев зоны дроссельной заслонки первой камеры, блокировку второй камеры.
В карбюраторе имеются две главные дозирующие системы первой и второй камер, система холостого хода первой камеры с переходной системой, переходная система второй камеры, экономайзер мощностных режимов, эконостат, диафрагменный ускорительный насос, пусковое устройство. На принудительном холостом ходу включается экономайзер принудительного холостого хода.
Тарировочные данные карбюратора приведены в подразделе 2.15.2.
ВАЗ-21213 (Нива). Главная дозирующая система

Cхема системы холостого хода и переходных систем карбюратора

6 – выходное отверстие переходной системы второй камеры;
7 – главные топливные системы;
8 – щель переходной системы первой камеры;
9 – регулировочный винт качества (состава) смеси холостого хода
Топливо через сетчатый фильтр 4 (см. рис. Схема главных дозирующих систем) и игольчатый клапан 6 подается в поплавковую камеру. Из поплавковой камеры топливо поступает через главные топливные жиклеры 9 в эмульсионные колодцы и смешивается с воздухом, выходящим из отверстий эмульсионных трубок 1, которые изготовлены заодно с главными воздушными жиклерами. Через распылители 2 топливно-воздушная эмульсия попадает в малые и большие диффузоры карбюратора.
Дроссельные заслонки 8 и 10 соединены между собой таким образом, что вторая камера начинает открываться, когда первая уже открыта на 2/3 величины.
Система холостого хода забирает топливо из эмульсионного колодца после главного топливного жиклера 7 (см. рис. Cхема системы холостого хода и переходных систем карбюратора).
Топливо подводится к топливному жиклеру 2 с электромагнитным запорным клапаном 1, на выходе из жиклера смешивается с воздухом, поступающим из проточного канала и из расширяющейся части диффузора (для обеспечения нормальной работы карбюратора при переходе на режим холостого хода).
Эмульсия выходит под дроссельную заслонку через отверстие, регулируемое винтом 9 качества (состава) смеси.
ВАЗ-21213 (Нива). Переходные системы
При открытии дроссельных заслонок карбюратора до включения главных дозирующих систем топливно-воздушная смесь поступает:
– в первую смесительную камеру через жиклер 2 холостого хода (см. рис. Cхема системы холостого хода и переходных систем карбюратора) и вертикальную щель 8 переходной системы, находящуюся на уровне кромки дроссельной заслонки в закрытом положении; – во вторую смесительную камеру через выходное отверстие 6, находящееся чуть выше кромки дроссельной заслонки в закрытом положении. Топливо поступает из жиклера 4 через трубку, смешивается с воздухом из жиклера 5, поступающим через проточный канал.
2.15.1.3.
ВАЗ-21213 (Нива). Экономайзер мощностных режимов
Схема экономайзера мощностных режимов и эконостата
Источники:
http://expertvaz.ru/niva/karbyurator-21213.html
http://karburater.ru/ustroistvo/ustrojstvo-soleks-21073.html
http://www.vazbook.ru/Niva/21213/power/fuel/osobennosti-ustroystva-karbyuratora
http://twokarburators.ru/reg-vinty-21073-solex-niva/
http://sinref.ru/avtomobili/VAZ/015_vaz_21213_niva_vsedorojnik/033.htm

